当前位置:网站首页>Dynamic memory management of C
Dynamic memory management of C
2022-04-22 08:40:00 【weixin_ forty-six million two hundred and seventy-two thousand 】
Dynamic memory allocation
Use malloc Class to allocate memory
Use this memory to support applications
use free Function to free memory
The sample code
int *ptr = (int *)malloc(sizeof(int));// Dynamic memory allocation , The size is one int
*pi = 5;
cout << *pi << endl;
free(pi);// Free memory

caption ( The main function is also a function , So I created a pointer in the stack , And point to the memory opened up in the heap )
Memory leak
If the allocated memory is no longer used but not released, it will lead to memory leakage
Lost memory address
There is no call free function
Lost address
int main()
{
int *pi = (int *)malloc(sizeof(int));
*pi = 5;
pi = (int *)malloc(sizeof(int));// Another space has been opened up in the pile area , And let the pointer point to it
// Now , We can't find the space opened up for the first time , We can't release it , This causes a memory leak
return 0;
}
When pi When assigned a new address , It lost the memory address it was pointing to , The first assigned address is lost
int main()
{
char* name = (char*)malloc(strlen("Susan") + 1);
strcpy_s(name, strlen("Susan") + 1,"Susan");
while (*name != 0) {
cout << *name;
name++;// Changed the name Value , Unable to find the initial address of the original memory
}
free(name);//free after , Display exception
return 0;
}
We have changed name Value , and name It's an address , It can't find the initial address of the original memory , We want to free up the original memory , The starting address of the memory to be allocated (free after , Display exception )

As shown in the figure , The pointer points to the address at the end , But we need to allocate the starting address of memory
There is no call free function
int main()
{
int* ptr = (int*)malloc(sizeof(int));
*ptr = 10;
//free(ptr); Commented out free function
return 0;
}
Commented out free function , The compiler will not actively release the memory we have opened up
Dynamic memory allocation function

Functions of various dynamic memory allocation functions
malloc function
int *ptr = (int *)malloc(sizeof(int));// Dynamic memory allocation , The size is one int
malloc The operation of
- Allocate memory from the heap
- Memory will not be modified or emptied
- Return the address of the first byte
It's best to add cast
- Easy to understand the purpose of the function
- Code can interact with C++ compatible , It needs to show the cast type
Failed to allocate memory
- If you declare a pointer , But no memory is allocated for the address it points to before use , Then memory usually contains garbage , This often leads to an invalid memory reference error
int *p;
...
cout << *p << endl;
As the code shows , We just declared a pointer , Without initializing it , I don't know where it points . And we use malloc The function returns the first address of the memory we opened for the pointer

As shown in the figure , The pointer in the stack doesn't know where it points
Not given malloc Pass the correct parameters
- When applying for space, you should accurately explain , It is recommended to use sizeof The operator , Because the number of bytes of some types of each system may be different , Manually calculating the size is prone to allocation errors . Specify the type to avoid errors
double* ptr = (double*)malloc(10 * sizeof(double));
Apply for ten double Storage space of type size
calloc function
Prototype
void *calloc(size_t numElements, size_t elementSize);
calloc The function will empty the memory while allocating ( Set it to binary 0)
This function allocates memory based on the product of two parameters , Cannot allocate return null pointer
int *ptr = (int *)calloc(5,sizeof(int));// 5 * 4 = 20 ( byte )
Equivalent to
int main() {
int *ptr = (int *)malloc(sizeof(int));
memset(ptr,0,5*sizeof(int));
for (int i=0; i<5; i++)
cout << *(ptr+i) << " "; // 0 0 0 0 0
return 0;
}
realloc function
We may need to increase or decrease the memory allocated for pointers from time to time ,realloc Function will reallocate memory
Prototype
void *realloc(void *ptr, size_t size);
This function takes two arguments , The first is a pointer to the original memory block , The second is the size of the request . It will find a larger block to copy the data of the original memory block , Then return the pointer of the new block

realloc Behavior of functions
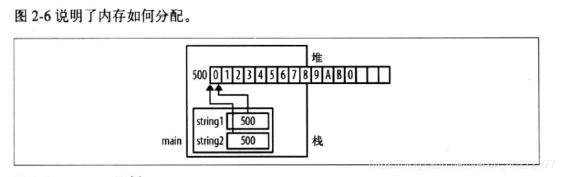
Case study ( Smaller than the original memory block )
int main()
{
char* string1;
char* string2;
string1 = (char*)malloc(16);
strcpy(string1, "0123456789AB");
string2 = (char *)realloc(string1, 8);// Allocate less space
printf("string1 Value: %p [%s]\n", string1, string1);
printf("string2 Value: %p [%s]\n", string2, string2);
return 0;
}
Output
string1 Value: 0000000000ae1510 [0123456789AB]
string2 Value: 0000000000ae1510 [0123456789AB]
It doesn't choose a new space , But in the original memory block , But we have limited 8 Bytes , But you can continue to access the following data , Maybe we can NULL Assign to the following address to stop accessing .

The above is the memory allocation , Although we have designated 8 The limit of bytes , But because we didn't find a new memory block , Use the old , So even if it is out of bounds, you can still access the following characters
alloca Functions and variable length arrays
alloca The function allocates memory on the stack frame of the function , After the function returns, the memory will be released automatically . If the underlying runtime system is not in a hurry ,alloca Functions can be difficult to implement , So this function is nonstandard , Avoid using .
C99 Variable length array is introduced (VLA), Allows the internal life of functions and the creation of arrays whose length is determined by variables
void array(int n)
{
char* buffer[n];
}
use free Function to free memory
int main()
{
int* ptr = (int*)malloc(sizeof(int));
*ptr = 10;
cout << *ptr << endl;
free(ptr);
return 0;
}
free Free the memory pointed to by the pointer parameter , This memory is returned to the heap . Although the pointer still points to this area , But we should think of it as just junk data

The lost pointer is what we call the dangling pointer , For safety's sake , Generally, the pointer should be assigned to NULL
Assign the released pointer to NULL
Released pointers can still cause problems , If we try to reference a released pointer , Its behavior will be undefined
ptr = NULL;

Repeat release
If we try to release the same block of memory repeatedly , Exceptions will occur
C++ Deep copy and shallow copy should impress everyone
Dangling pointer ( Dangling pointer )
If memory has been released , And the pointer is still referring to raw memory , Such a pointer is called a lost pointer ( Dangling pointer ), The lost pointer does not point to a valid object , Also known as premature release
Cause problems
- If you access memory , The behavior is unpredictable
- If memory is not accessible , Is a segment error
- Potential safety hazards
General mistakes
- Access to memory that has been freed
- The returned pointer points to the automatic variable in the last function call
Lost pointer case
int main()
{
int* ptr = (int*)malloc(sizeof(int));
*ptr = 10;
cout << *ptr << endl;
free(ptr);
return 0;
}
At this time ptr Is the lost pointer , If we use pointers to access this memory block , There will be unpredictable consequences
int main()
{
int* ptr = (int*)malloc(sizeof(int));
int* ptr2 = ptr;
*ptr = 10;
cout << *ptr << endl;
free(ptr);
return 0;
}

here ptr2 yes ptr Pointer alias for , It's also a lost pointer , We often assign several addresses with the same pointer , This can easily lead to many lost pointers
Dealing with lost pointers
After releasing the pointer , Set it to NULL, Subsequent use of this pointer will terminate the program , But the assignment only affects a lost pointer , If there are multiple pointers in common , It's hard to deal with
Write a special function instead of free function
Some systems overwrite data after release , Without throwing an exception , When the programmer sees these values, he will understand that the program may be accessing the released memory
Use third-party tools to detect lost pointers and other problems
Dynamic memory allocation technology
C The garbage collection of
Some non-standard technologies can be used to solve some problems i, Can automatically release memory . When the memory is no longer used, it will be collected for subsequent use , The released memory becomes garbage , So it's called garbage collection
Garbage collection means
- Programmers don't need to think about when to free memory
Resource acquisition and initialization
It can be used to solve C++ The allocation and release of resources in , Even if something goes wrong , This technology can also ensure the initialization and subsequent release of resources .
Using exception handling functions
Is not very good ...
版权声明
本文为[weixin_ forty-six million two hundred and seventy-two thousand ]所创,转载请带上原文链接,感谢
https://yzsam.com/2022/04/202204220742291355.html
边栏推荐
- 617. 合并二叉树(Easy)
- 226. 翻转二叉树(Easy)
- The map cutter can cut the picture into tile data. Its main purpose is to cut the high-definition satellite image into tile map. It can be used for offline map development based on Mercator coordinate
- 面试题 04.03. 特定深度节点链表(Medium)
- Winsock编程接口实验:实现ping
- shell学习笔记——shell对输出流的处理awk
- Client and server project 3
- 字符串替换相关题目(合并数组)
- Nacos Foundation (4): configure the external database of Nacos
- 反转一个链表<难度系数>
猜你喜欢

Machine learning notes - Mathematics in principal component analysis

MATLAB安装产品选择,如何选择需要安装的产品

shell脚本学习笔记——正则表达式

Seven crimes of hackers in social engineering -- hooking

手把手教你实现RecyclerView的下拉刷新和上拉加载更多

postgres+postgis+geoserver离线路径规划功能(记录)

第1关:创建/删除节点

Flutter ListView 加载更多

Detailed analysis of viewpager usage

指针和字符串
随机推荐
jmu-枚举WeekDay
1315. 祖父节点值为偶数的节点和(Medium)
Use the method of onlayoutchangelistener to solve the problem of gettop = 0
Redis non relational database - redis high availability, persistence and performance management
SQL 语句中 “意想不到” 的操作
用OnLayoutChangeListener的方法解决getTop=0的问题
面试题 04.03. 特定深度节点链表(Medium)
SQL database multiple choice question (2)
Monkey eating peach problem (loop, recursion)
Level 1: create / delete nodes
The fluent modul class and JSON are converted to each other
Level 3: node status check, data view and update
111. 二叉树的最小深度
Level 1: Inheritance
Flutter ListView 加载更多
129. 求根节点到叶节点数字之和(Medium)
字符串的替换
Mapbox设置官方地图语言为中文
第1关:创建/删除节点
JSON数据文本